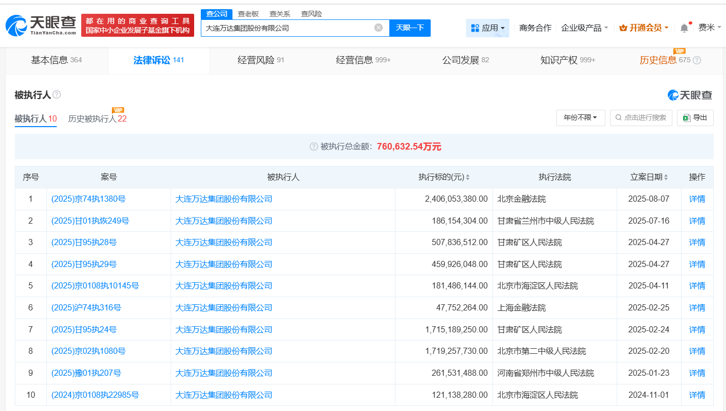
天眼查法律诉讼信息显示,近日,大连万达集团股份有限公司新增一则被执行人信息,执行标的24亿余元,执行法院为北京金融法院。
天眼风险信息显示,大连万达集团股份有限公司现存10条被执行人信息,被执行总金额超76亿元,此外,该公司还存在多条股权冻结信息。

天眼查法律诉讼信息显示,近日,大连万达集团股份有限公司新增一则被执行人信息,执行标的24亿余元,执行法院为北京金融法院。
天眼风险信息显示,大连万达集团股份有限公司现存10条被执行人信息,被执行总金额超76亿元,此外,该公司还存在多条股权冻结信息。

下一篇:百果园多次因买卖合同纠纷被诉