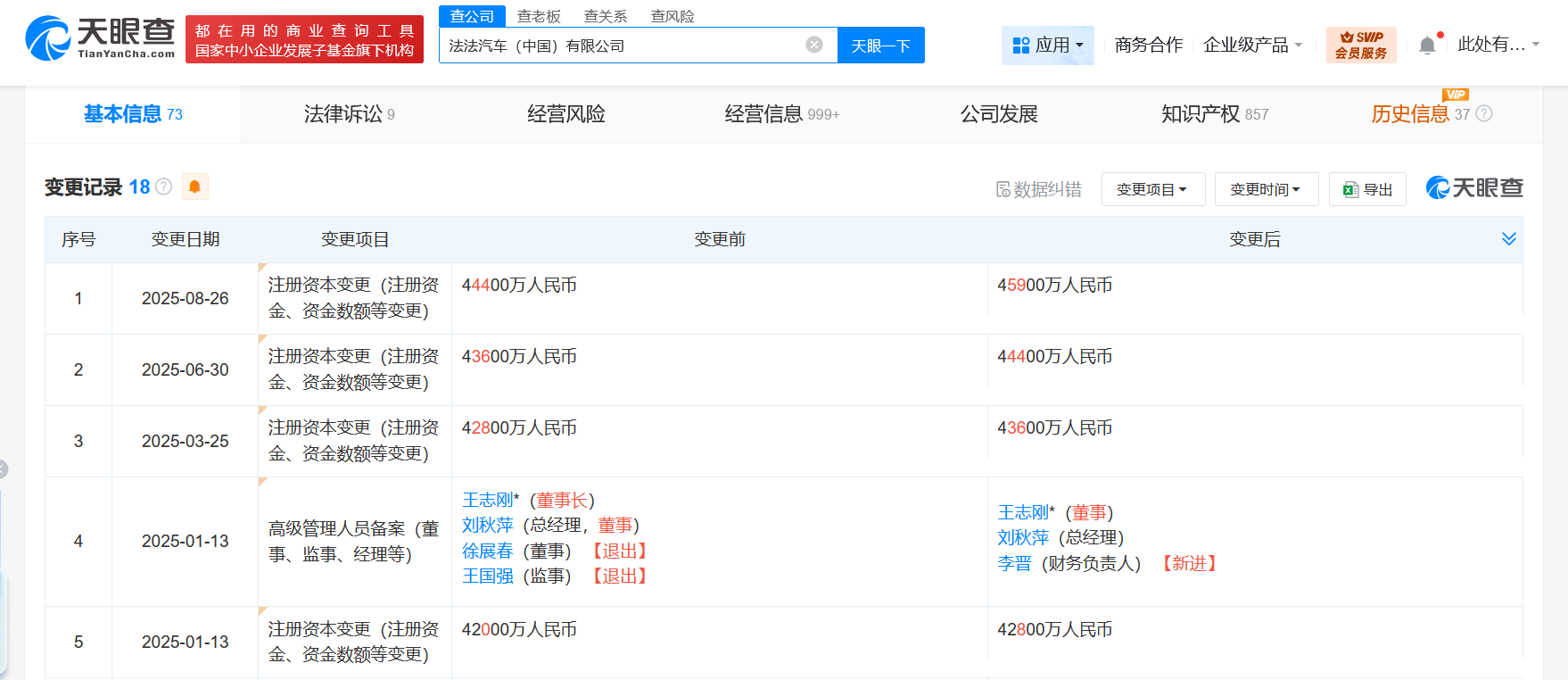
天眼查工商信息显示,近日,法法汽车(中国)有限公司发生工商变更,注册资本由4.44亿人民币增至4.59亿人民币。值得注意的是,这已是该公司今年第4次增资。
法法汽车(中国)有限公司成立于2017年3月,法定代表人为王志刚,经营范围含汽车销售、新能源汽车整车销售、汽车零部件及配件制造、汽车零配件批发、计算机软硬件及辅助设备批发、计算机软硬件及辅助设备零售等。股东信息显示,该公司由ff hong kong holding limited、乐视汽车科技(北京)有限公司共同持股。

天眼查工商信息显示,近日,法法汽车(中国)有限公司发生工商变更,注册资本由4.44亿人民币增至4.59亿人民币。值得注意的是,这已是该公司今年第4次增资。
法法汽车(中国)有限公司成立于2017年3月,法定代表人为王志刚,经营范围含汽车销售、新能源汽车整车销售、汽车零部件及配件制造、汽车零配件批发、计算机软硬件及辅助设备批发、计算机软硬件及辅助设备零售等。股东信息显示,该公司由ff hong kong holding limited、乐视汽车科技(北京)有限公司共同持股。
