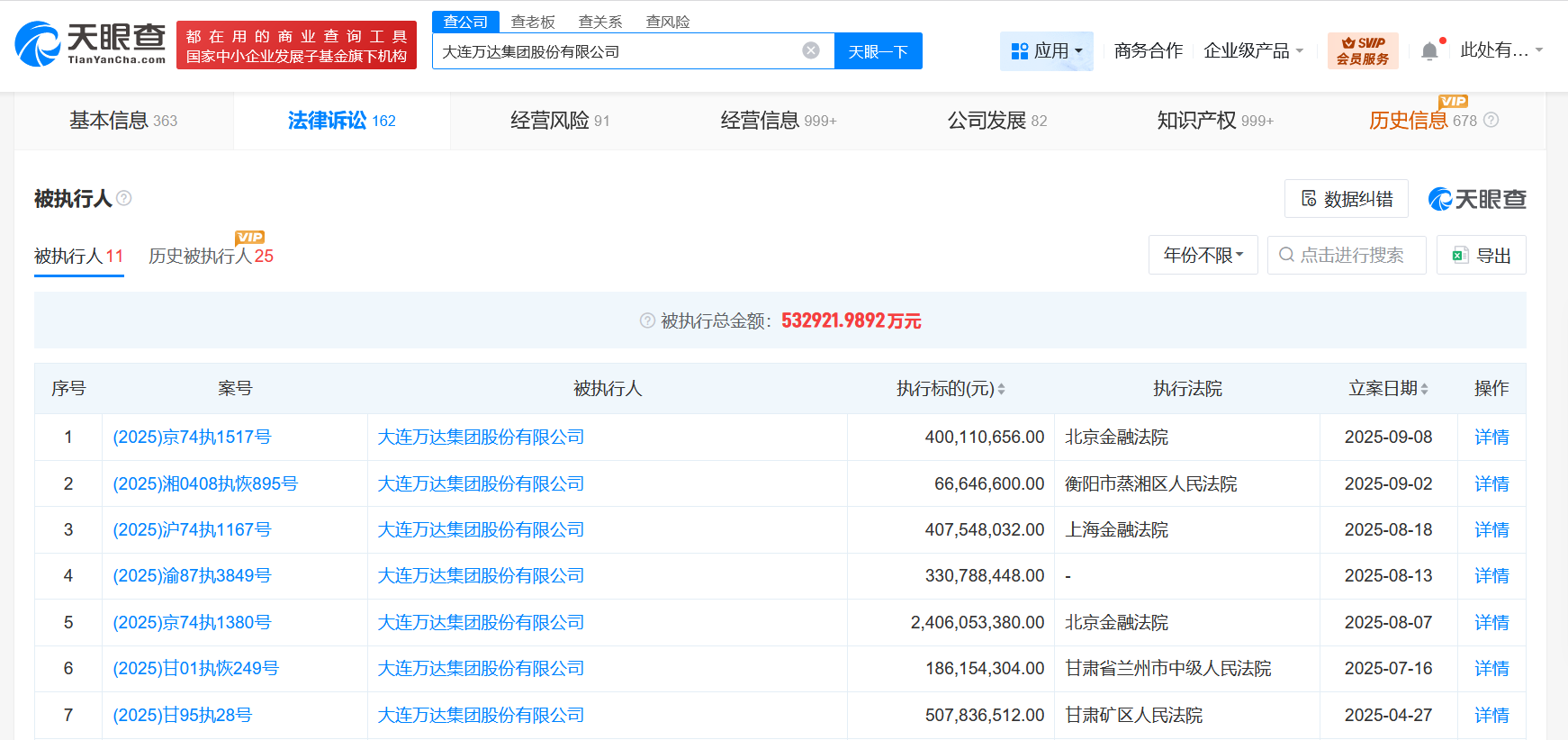
天眼查app显示,近日,大连万达集团股份有限公司新增一则被执行人信息,执行标的4亿余元,执行法院为北京金融法院。
大连万达集团股份有限公司成立于1992年9月,法定代表人为王健林,注册资本10亿人民币,经营范围包括货物进出口、技术进出口、国内一般贸易等。股东信息显示,该公司由大连合兴投资有限公司、王健林共同持股。天眼风险信息显示,该公司现存11条被执行人信息,被执行总金额超53亿元,此外,该公司所持多家公司股权已被冻结。

天眼查app显示,近日,大连万达集团股份有限公司新增一则被执行人信息,执行标的4亿余元,执行法院为北京金融法院。
大连万达集团股份有限公司成立于1992年9月,法定代表人为王健林,注册资本10亿人民币,经营范围包括货物进出口、技术进出口、国内一般贸易等。股东信息显示,该公司由大连合兴投资有限公司、王健林共同持股。天眼风险信息显示,该公司现存11条被执行人信息,被执行总金额超53亿元,此外,该公司所持多家公司股权已被冻结。

下一篇:揭秘现雷人造句幼儿教材涉事厂家