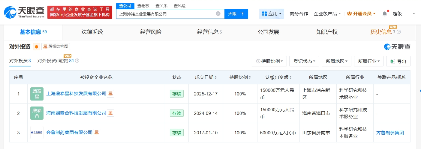
天眼查app显示,近日,上海鼎泰星科技发展有限公司成立,法定代表人为李燕,注册资本15亿人民币,经营范围包括医学研究和试验发展、科技中介服务、信息咨询服务等。股东信息显示,该公司由上海坤裕企业发展有限公司全资持股。值得注意的是,上海坤裕企业发展有限公司持有齐鲁制药集团有限公司100%股份。

天眼查app显示,近日,上海鼎泰星科技发展有限公司成立,法定代表人为李燕,注册资本15亿人民币,经营范围包括医学研究和试验发展、科技中介服务、信息咨询服务等。股东信息显示,该公司由上海坤裕企业发展有限公司全资持股。值得注意的是,上海坤裕企业发展有限公司持有齐鲁制药集团有限公司100%股份。
