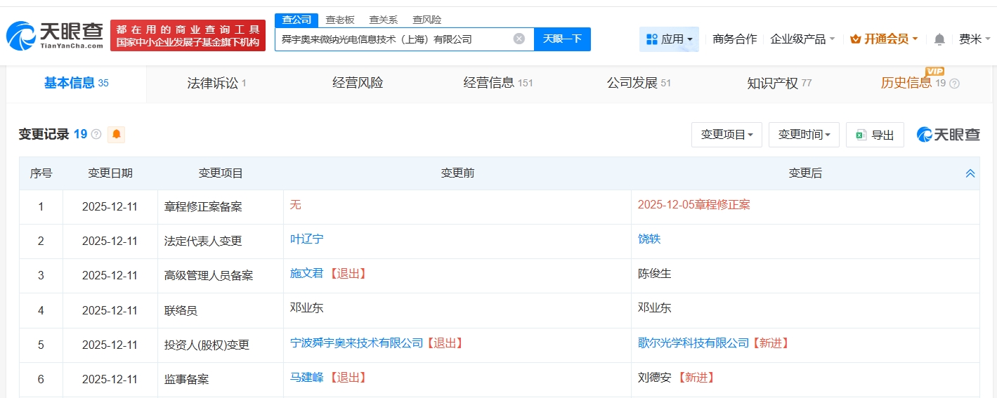
天眼查app显示,近日,舜宇奥来微纳光电信息技术(上海)有限公司发生工商变更,原股东舜宇光学旗下宁波舜宇奥来技术有限公司退出,新增歌尔光学科技有限公司为全资股东,同时,叶辽宁卸任该公司法定代表人,由饶轶接任。
舜宇奥来微纳光电信息技术(上海)有限公司成立于2021年1月,注册资本1.43亿人民币,经营范围包括光学仪器制造、光电子器件制造、电子元器件与机电组件设备制造等。
据媒体报道,此前,舜宇光学以约19.03亿元完成与歌尔光学科技有限公司的换股交易,成为歌尔光学的第二大股东。此次交易由歌尔光学通过向宁波舜宇奥来技术有限公司及交易对方员工持股平台增发注册资本的方式,取得旗下舜宇奥来微纳光学(上海)有限公司与舜宇奥来微纳光电信息技术(上海)有限公司100%股权。
